Hľadať
Plusy

Prednosti & výhody

  • rýchlejšia a jednoduchšia montáž
  • vysoký stupeň zatienenia
  • termoregulačný i ochranný efekt
  • znižovanie hladiny vonkajšieho hluku
  • dolný profil z extrudovaného hliníka
  • možnosť elektrického ovládania
  • znížená hlučnosť žalúzie

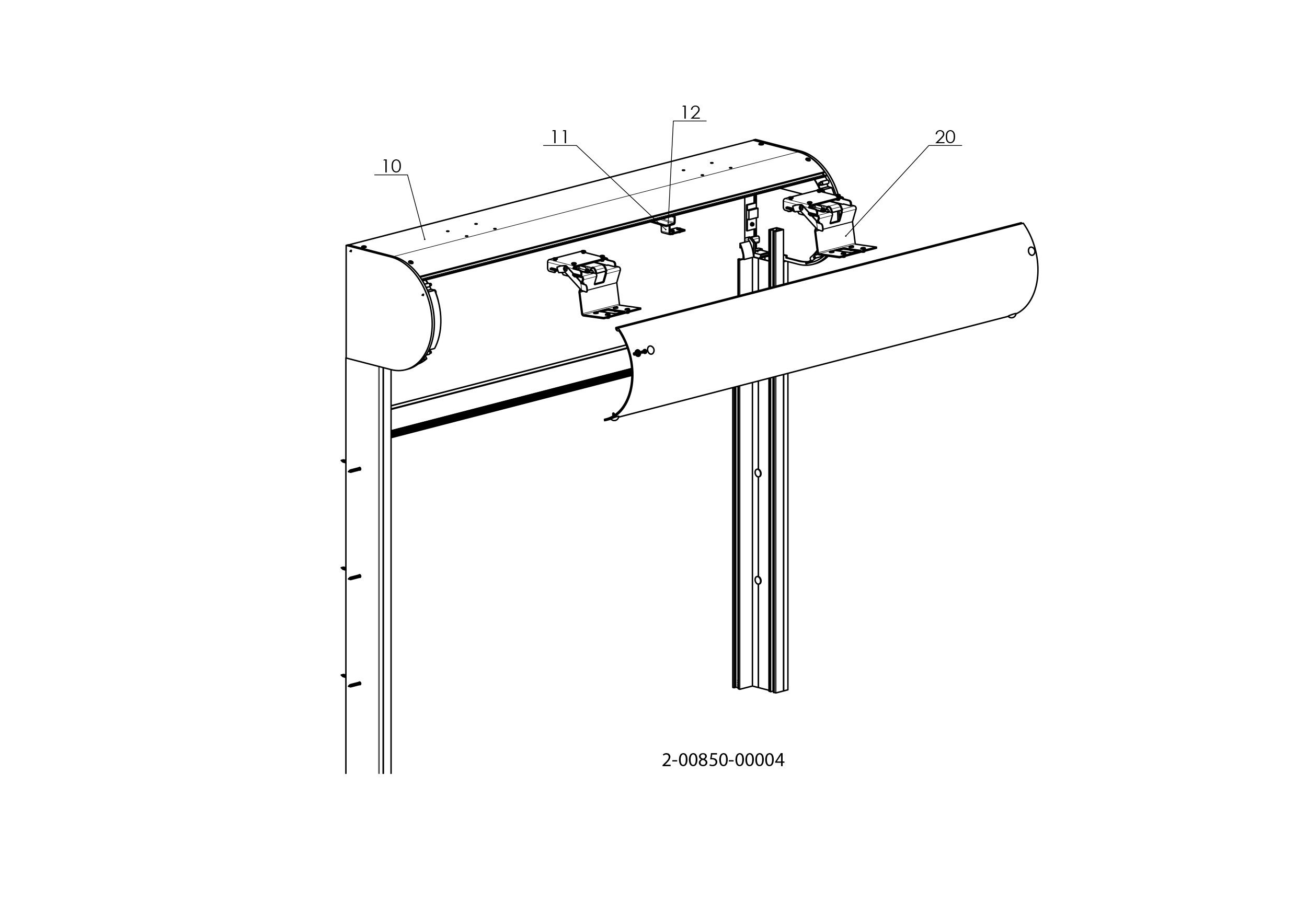
STS CLASIC – Fe

Vhodné pre všetky typy vonkajších žalúzií s horným profilom 56 × 58 mm, Fe. Maximálna šírka samonosných žalúzií je 2,4 m. Pri väčších šírkach je potrebné pripevniť horný profil. Pri šírkach nad 2,4 m sa automaticky dodávajú závesy horného profilu P 002/10. Možno pripojiť až 3 žalúzie. Inštalácia na fasádu, do zárubne.

Štandardné rozmery žalúzií

  Šírka (mm) Výška (mm) Garantovaná plocha (m2)
min. max. min. max. max.
Žaúzie STS CLASIC Fe - motor 600 2400 500 4000 16
Žalúzie STS CLASIC Fe - klika 600 2400 500 4000 8

Upozornenie: Montážne rozmery sa zvýšia o hodnotu závesu horného profilu (8 mm).

STS-Clasic-Fe

STS CLASIC – Al

Vhodné pre všetky typy vonkajších žalúzií s horným profilom 58 × 60 mm, Al. Maximálna šírka samonosných žalúzií je 3,5 m. Pri väčších šírkach je potrebné pripevniť horný profil. Pri šírkach nad 3,5 m sa automaticky dodávajú závesy horného profilu P 002/11. Možno pripojiť až 3 žalúzie. Inštalácia na fasádu, do ostenného rámu..

Štandardné rozmery žalúzie

  Šírka (mm) Výška (mm) Garantovaná plocha (m2)
min. max. min. max. max.
Žalúzie STS CLASIC Al - motor 600 3400 500 4000 16
Žalúzie STS CLASIC Al - rukoväť 600 3400 500 4000 8

Upozornenie: Inštalačný rozmer sa zvyšuje o hodnotu horného profilu závesu (8 mm).

STS-Clasis-Al.jpg

STS ALUMINIUM

Vhodný pre všetky typy vonkajších žalúzií s horným profilom 58 × 60 mm, Al. Maximálna šírka samonosných žalúzií je 4 m. Jednoduchá a rýchla inštalácia. Vhodný pre motorizované ovládanie, možnosť spojenia 2 žalúzií. Inštalácia na fasádu, do ostenia.

Štandardné rozmery žalúzií

  Šírka (mm) Výška (mm) Garantovaná plocha (m2)
min. max. min. max. max.
Žalúzie STS ALUMINIUM 600 4000 500 4000 16

Upozornenie: Hliníkový výstužný profil je vždy súčasťou dodávky. Profil s výstužou bude mať o 18 mm väčšiu montážnu výšku.

STS-Aluminium.jpg

STS FIX

Vhodné pre všetky typy vonkajších žalúzií s horným profilom 56 × 58 mm, Fe. Maximálna šírka samonosných žalúzií je 2,4 m. Pri väčších šírkach je potrebné pripevniť horný profil; automaticky sa dodáva dodatočná konzola P 009/3. Vodiaca lišta P 018/2 FIX sa dodáva v predmontovanom stave vrátane konzoly P 010/50; vodiaca lišta P 016/3 sa dodáva v predmontovanom stave vrátane konzoly P 010/21. Jednoduchá a rýchla inštalácia. Inštalácia na fasádu, do zárubne. Vhodné pre motorizované ovládanie, možnosť spojenia až 3 žalúzií.

Štandardné rozmery žalúzií

  Šírka (mm) Výška (mm) Garantovaná plocha (m2)
min. max. min. max. max.
Žalúzie STS FIX 600 2400 500 4000 16

Upozornenie: Inštalačné rozmery sa zvyšujú o hodnotu horného profilu závesu (15 mm). Pri produkte STS FIX sa horný profil automaticky skráti o 25 mm na každej strane..

STS-FIX.jpg

BRAVO

Vhodné pre všetky typy vonkajších žalúzií s horným profilom 56 × 58 mm, Fe. Žalúzie so samonosnými lamelami a možnosťou integrovanej sieťky proti hmyzu. Horný profil žalúzie vrátane balíka lamiel je umiestnený v predmontovanej skrini so zaobleným dizajnom. Po bokoch skrinky sú bočné panely na pripojenie k vodiacim lištám. Štandardné vyhotovenie vždy obsahuje 8 mm textilnú pásku. Vyhotovenie iba s kolmou spodnou lištou. Vhodné pre motorové ovládanie, motor je vždy umiestnený v strede. Inštalácia na fasádu, do zárubne.

Štandardné rozmery žalúzií

  Šířka (mm) Výška (mm) Garantovaná plocha (m2)
min. max. min. max. max.
Bez sieťky proti hmyzu 600 3500 500 4000 10,5
So sieťkou proti hmyzu 720 1800 500 2500 3

Použitím tohto dizajnu ušetríte 40 mm na výške boxu (výška krycej dosky) v porovnaní so štandardným dizajnom.

Bravo.jpg

VIVA

Vhodné pre všetky typy vonkajších žalúzií okrem Cetta 50 a Titan. Žalúzie so samonosnými lamelami a možnosťou integrovanej sieťky proti hmyzu. Horný profil žalúzie vrátane balíka lamiel je umiestnený v predmontovanej skrini v dvoch variantoch, buď v zapustenej alebo viditeľnej konštrukcii. Po bokoch skrinky sú bočné panely na pripojenie k vodiacim lištám. V zapustenej verzii môže byť skrinka vnútri vybavená tvrdeným polystyrénom, styrodur alebo Alutermo. Inštalácia na fasádu, do ostenného rámu.

Štandardné rozmery žalúzií

  Šírka (mm) Výška (mm) Garantovaná plocha (m2)
min. max. min. max. max.
Bez sieťky proti hmyzu 600 4000* 500 4000 12
So sieťkou proti hmyzu 720 1800 500 2500 38

*Toto je max. šírka boxu.

VIVA
Opýtajte sa nás

Zaujal Vás produkt?

Radi vám odpovieme na vaše otázky, stačí vyplniť formulár a my Vám najneskôr do 3 pracovných dní odpovieme.
Odoslaním otázky súhlasíte so zasielaním obchodných oznámení spoločnosti, podľa ustanovenia § 7 zákona č. 480/2004 Zb. v znení noviel, na elektronickú adresu odosielateľa. Odosielateľ správy si je plne vedomý toho, že tento súhlas je oprávnený kedykoľvek v budúcnosti odvolať, a to ako pre prijatie jednotlivej správy, tak pre prijímanie obchodných oznámení.